製品情報:
主な機能
外付けmini-SD
| RaymarineのRCRリモートSDカードリーダーを使用すると、追加のSDカードをチャート、ソフトウェアの更新、またはデータストレージに使用できます。 |
|---|
| コンソールのどこにでも取り付けることができる柔軟性を備えた防水RCRは、USBソケットも備えています。 |
取付方法(フラッシュマウント)
外付けmini-SD
| 1.本機の設置場所を確認してください。パネルの後ろに適切なクリアランスがある平らな場所が必要です。 |
|---|
| 2.取り付け面を変更する前に、本書に記載されている寸法を参照して、ユニットとすべてのケーブルを収納するのに十分なスペースがあることを確認してください。 |
| 3.付属の取付テンプレート(87388)を選択した場所にマスキングまたは自己接着テープで固定します。 |
| 4.取り付けテンプレートに記載されているように2つの穴を開けて、場所のラグを受け入れるようにします。 |
| 5.適当なドリルやノコギリを使って、中央の穴を切り取ります。 |
| 6. ルータを使用して、フラッシュマウントリベート線に沿って、テンプレートに示されているように、指定されたリベートの深さにリベートを切り出します。 |
取付方法(表面実装)
外付けmini-SD
| 1.本機の設置場所を確認してください。パネルの後ろに適切なクリアランスがある平らな場所が必要です。 |
|---|
| 2.取り付け面を変更する前に、ユニットとすべてのケーブルを収納するのに十分なスペースがあることを確認してください。 |
| 3.付属の取付テンプレート(87388)を選択した場所にマスキングまたは自己接着テープで固定します。 |
| 4.取り付けテンプレートに記載されているように、2つの穴を開けて、場所のラグを受け入れるようにします。 |
| 5.適当なドリルやノコギリを使って、中央の穴を切り取ります。 |
| 6.取り外した部分にユニットが収まっていることを確認してから、粗い角を取り除いてください。 |
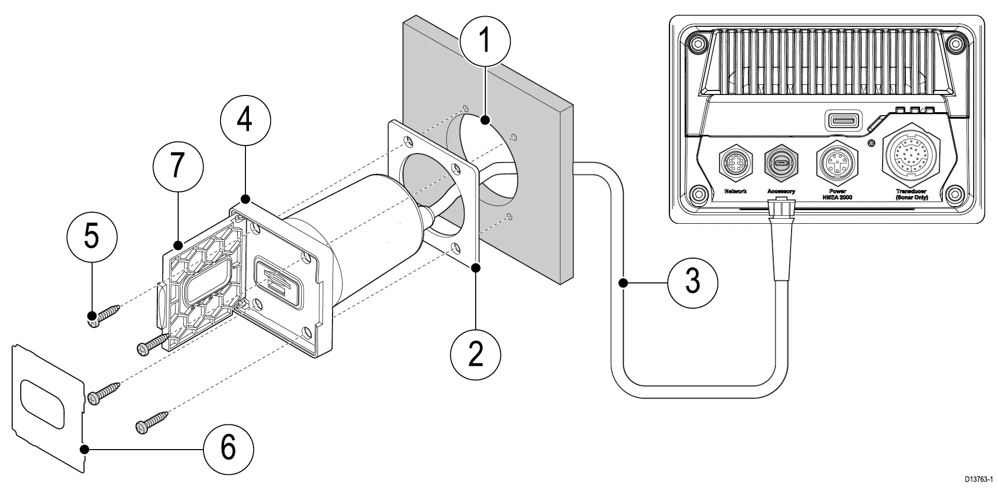
| 7.カードリーダーの背面にガスケットを取り付けます。 |
| 8.1 m (3.28 ft) のケーブルを穴とロックリング (穴の反対側) に通します。ケーブルを MFD 背面のアクセサリー接続に接続します。 |
| 9.切り取った穴にカードリーダーを差し込みます。 |
| 10.カードリーダーがしっかりと固定されるまで、ロックリングをねじ込んでカードリーダーを固定します。 |
| 11.水の浸入を防ぐために、カードリーダーのドアカバーがしっかりと閉まっていることを確認してください。 |
本製品の同梱物
本製品の同梱物
| 同梱物 | |
|---|---|
| 1 | 1 m (3.28 ft) のキャプティブ・ケーブルを含むRCR-1 microSDカード・リーダー × 1 |
| 2 | 発泡ガスケット ×1 |
| 3 | ロックリング ×1 |
| 4 | 抑制フェライト ×1 |
人気製品
感想レビュー
0.0
(0 レビュー)


